Motor, Drive and Control
Motor, Drive and Control
Base Assembly for Drive Controller
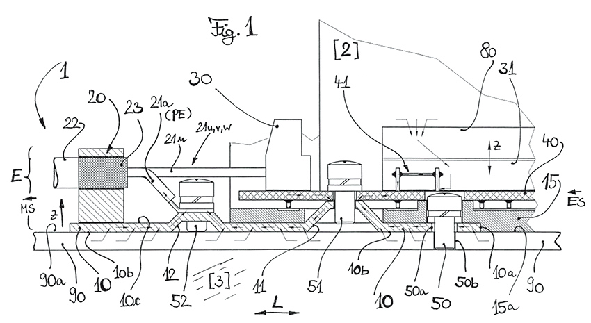
Multiple electrical connectors (30,31) are arranged in a connecting plane (E), at least one plug direction being perpendicular to the connecting plane. An assembly surface on the motor output side is formed from sheet metal (10) which lies on a holding plate in a switch cabinet when the base sub-assembly is mounted.
